Разработка гидроэнергетической установки для свободнопоточных водотоков на основе кинетической турбины и плавучего основания

Бесплатный доступ

В статье рассматривается разработка гидроэнергетической установки с плавучим основанием и двумя кинетическими гидротурбинами, предназначенной для работы в условиях свободнопоточных низконапорных водотоков. Проведён анализ существующих патентно-технических решений и выявлены основные недостатки традиционных конструкций. Предложена модернизированная система направляющих поверхностей, обеспечивающая увеличение скорости потока и повышение эффективности гидротурбин. На основе разработанных чертежей получены геометрические зависимости и аналитические выражения, позволяющие определить ключевые параметры установки на этапе проектного проектирования. Представленные результаты подтверждают перспективность разработки и могут служить основой для дальнейших экспериментальных исследований.

Еще

Кинетическая гидротурбина, свободнопоточный водоток, плавучее основание, направляющая конструкция, магнитоэлектрический генератор, гибридные энергоустановки, микрогидроэлектростанции, Аму-Бухарский канал

Короткий адрес: https://sciup.org/147252869

IDR: 147252869   |   УДК: 621.224.4; 620.91

Development of a hydroenergy unit for free-flowing watercourses based on a kinetic turbine and a floating platform

This paper presents the development of a hydroenergy unit featuring a floating platform and two kinetic hydro turbines designed for operation in free-flowing, low-head watercourses. An analysis of existing patent-based and technical solutions was carried out, revealing key shortcomings of conventional designs. An improved system of guiding surfaces is proposed, enabling an increase in flow velocity and enhancing turbine efficiency. Based on the developed technical drawings, geometric relationships and analytical expressions were obtained, allowing the determination of essential design parameters at the early stage of engineering development. The presented results confirm the potential of the proposed system and can serve as a foundation for further experimental studies.

Еще

Текст научной статьи Разработка гидроэнергетической установки для свободнопоточных водотоков на основе кинетической турбины и плавучего основания

Введение. В мире на сегодняшний день наблюдается стремительный рост спроса на электроэнергию, сопровождающийся усиливающейся энергетической нестабильностью и усугубляющимся климатическим кризисом. На этом фоне всё большее внимание уделяется разработке гидроэнергетических установок, основанных на использовании возобновляемых источников энергии и способных обеспечивать устойчивую генерацию электроэнергии без вредных выбросов. Увеличение концентрации CO2 в атмосфере и продолжающийся рост глобальных температур стимулируют научное сообщество и промышленный сектор к поиску более эффективных и экологически безопасных способов получения энергии. Согласно данным IEA, выбросы CO2 в энергетическом секторе в 2023 году увеличились на 1,1 % и достигли рекордного уровня - 37,4 млрд тонн, несмотря на рост доли ВИЭ в мировом производстве электроэнергии [1]. На рисунке 1 приведена динамика выбросов парниковых газов CO2 и роста доли возобновляемых источников энергии в период 2020-2023 годов.

Эти данные подчёркивают необходимость активного перехода к новым типам энергетических технологий, ориентированных на чистую выработку электроэнергии, в том числе к перспективным решениям на основе энергии свободнопоточных водотоков. Одним из перспективных направлений повышения эффективности малых гидроэнергетических систем является применение установок с кинетическими гидротурбинами на плавучем основании, позволяющих извлекать энергию течения без напора и при минимальном воздействии на окружающую среду.

Рисунок 1 - Динамика выбросов CO2 и роста доли ВИЭ в 2020-2023 годах

На фоне перечисленных глобальных вызовов доля возобновляемых источников энергии в структуре мировой выработки электроэнергии превысила 30 % в 2023 году, при этом основное увеличение обеспечили солнечные и ветровые электростанции [2,3]. Гидроэнергетика при этом продолжает играть ключевую роль в формировании устойчивого энергетического баланса, а правительства и инвесторы в США, Китае, странах ЕС и других регионах активно поддерживают проекты, направленные на расширение использования гидроресурсов и модернизацию малых гидроэнергетических систем [4].

В условиях растущего спроса на экологически чистую электроэнергию особое значение приобретает развитие современных гидроэнергетических установок, способных эффективно работать в условиях малых рек и свободнопоточных каналов, обеспечивая локальную генерацию при минимальном воздействии на окружающую среду.

На рисунке 2 представлена круговая диаграмма, отражающая распределение выработки электроэнергии из возобновляемых источников в 2023 году. Согласно данным диаграммы, крупнейший вклад в производство «зелёной» электроэнергии внесли солнечные (38 %) и ветровые (34 %) электростанции. Существенную долю сохранила и гидроэнергетика (24 %), тогда как совокупная доля прочих источников (геотермальная энергия, биомасса и др.) составила около 4 %. Эти данные отражают глобальные тенденции развития ВИЭ и подчёркивают актуальность дальнейшего совершенствования гидроэнергетических технологий.

Рисунок 2 - Доля различных видов ВИЭ в мировой выработке электроэнергии (2023 г.)

В условиях растущего мирового спроса на электроэнергию и обострения экологических ограничений особое внимание уделяется развитию технологий, обеспечивающих устойчивую генерацию без создания напора и крупных гидротехнических сооружений. За последние годы заметно увеличилась интенсивность исследований, направленных на совершенствование малых и сверхмалых гидроэнергетических систем, работающих в естественных и искусственных свободнопоточных каналах [5-7]. Подобные установки привлекают интерес благодаря способности функционировать в условиях низкого напора, отсутствию необходимости строительства плотин, а также минимальному воздействию на гидроэкосистемы. Значительное количество зарубежных работ посвящено оптимизации кинетических гидротурбин, повышению их коэффициента использования энергии потока, а также разработке конструкций, обеспечивающих устойчивость и эффективность в переменных гидрологических условиях [8]. Наряду с этим растёт интерес к применению плавучих опорных платформ, позволяющих стабилизировать положение оборудования, адаптироваться к изменению уровня воды и снижать затраты на монтаж и обслуживание [9,10].

Вместе с тем возможности дальнейшего строительства крупномасштабных гидроэлектростанций ограничены дефицитом подходящих площадок и ужесточением экологических требований, что усиливает актуальность малой гидроэнергетики, интегрируемой в существующие ирригационные системы. Особое значение в этом контексте имеет Аму-Бухарский район, в котором функционирует Аму-Бухарский машинный канал (АБМК) - ответвление реки Амударья, начинающееся у гидроузла «Двойник» (39.219845, 63.719540). Канал включает разветвлённую сеть магистральных и межхозяйственных водоканалов, обеспечивающих водоснабжение Бухарской и части Навоийской областей. Для внедрения малых гидроэнергетических установок требуется анализ расхода, скорости течения, перепадов уровней и режима работы гидротехнических сооружений. Ранее исследователями Бухарского инженерно-технологического института была выполнена первичная оценка гидроэнергетического потенциала каналов региона на основе схемы линейного расположения водоканалов, предоставленной управлением АБМК, и спутниковых данных Google Earth Pro [11-12]. На основе этих данных была построена схема (рис. 3), позволяющая идентифицировать участки с наибольшим энергетическим потенциалом.

Научные исследования показывают, что сочетание конструкции с кинетической гидротурбиной с плавучим основанием является одним из наиболее перспективных направлений развития малой гидроэнергетики, особенно в регионах с развитой сетью ирригационных каналов и устойчивыми свободнопоточными водотоками [13-15]. Такой подход обеспечивает эффективное преобразование кинетической энергии потока в электрическую без создания напора, без строительства плотин и без вмешательства в гидравлический режим водных объектов, что делает технологию экологически нейтральной и масштабируемой. В связи с этим актуальной задачей становится системное изучение конструктивных особенностей, параметров работы и энергетической эффективности гидроэнергетических установок данного типа. Настоящее исследование направлено на анализ современных научных подходов, технических решений и методов проектирования малых гидроэнергетических установок с кинетической турбиной и плавучим основанием, работающих в условиях свободного потока, что формирует основу для дальнейших экспериментальных и инженерных разработок.

Рисунок 3 - Структурная схема размещения ключевых магистральных и межхозяйственных каналов в пределах Бухарской области

Проанализируем научно-технические разработки, представленные патентных исследованиях, посвящённых созданию и эксплуатации гидроэнергетических установок с кинетическими гидротурбинами, размещёнными на плавучем основании. Подобные решения представляют особый интерес для свободнопоточных водотоков, где устойчивость конструкции, эффективность улавливания кинетической энергии и надёжность механических узлов определяют работоспособность и экономическую целесообразность таких систем.

В патенте [CN207500037U] на рисунке 4 рассмотрена конструкция гидроэнергетической установки с кинетической гидротурбиной типа водяного колеса, включающая два последовательно расположенных водяных колеса с горизонтальной осью вращения, установленных на плавучем основании с понтонами и соединённых опорной рамой. Валы обоих колёс смонтированы на подшипниках свободного вращения и связаны с редукторами, передающими вращение на электрогенераторы, что обеспечивает двухступенчатое использование энергии водного потока. Анализ показывает, что такая схема позволяет увеличить съём кинетической энергии, однако наличие ограничительного блока и усиливающих рёбер, применяемых для регулирования лопастей, усложняет конструкцию и обслуживание. Кроме того, применение двух редукторно-генераторных комплектов повышает себестоимость и приводит к дополнительным механическим потерям, что снижает общий КПД установки, ограничивая её эффективность по сравнению с более простыми гидротурбинными решениями [16].

Рисунок 4 - Общий вид гидроэнергетической установки по патенту KR20110035228A

В патенте [KR20110035228A] на рисунке 5 представлена гидроэнергетическая установка с кинетической гидротурбиной типа Дарье, включающая геликоидную турбину с горизонтальным валом, установленную на металлической раме и опирающуюся на подшипники свободного вращения. Рама закреплена на двух поплавках, выполняющих функцию плавучего основания, которое фиксируется на месте с помощью металлического троса, соединённого с якорем на дне водотока. Механическая энергия вращения передаётся через вал на электрогенератор, обеспечивая выработку электроэнергии. Однако анализ показывает, что конструкция характеризуется рядом существенных недостатков: возникновение значительных центробежных сил на валу приводит к ускоренному износу узлов, снижению надёжности и повышенным требованиям к обслуживанию; к тому же система демонстрирует низкий КПД и отличается повышенной конструктивной сложностью, что ограничивает её практическую эффективность и долговечность [17].

Рисунок 5 - Конструкция гидротурбинной установки согласно патенту

KR20110035228A

В патенте [WO2016030910A1] на рисунке 6 рассмотрена конструкция гидроэнергетической установки, включающая три последовательно расположенные кинетические гидротурбины конической формы, размещённые в водном канале, образованном плавучим основанием. Лопасти каждой турбины имеют изогнутую, винтовую

геометрию: их узкие заострённые концы обращены к потоку, а широкие концы фиксированы к барабану, установленному на валу турбины. Для обеспечения свободного вращения турбины опираются на подшипники, смонтированные на поплавках, соединённых металлической рамой в единую плавучую платформу. Передача вращения на электрогенератор осуществляется посредством цепной передачи, а сама установка фиксируется на месте канатами, закреплёнными на берегу. Анализ показывает, что такая конструкция обладает рядом существенных недостатков: использование цепной передачи вызывает повышенный шум, требует постоянного контроля и регулярной смазки, без чего происходит ускоренный износ звёздочек и цепи; последовательное размещение трёх турбин без направляющих каналов снижает скорость потока для второй и третьей турбины, что уменьшает общую эффективность и повышает себестоимость; кроме того, электрогенератор демонстрирует низкие выходные энергетические показатели в условиях свободнопоточных водотоков, что ограничивает практическую эффективность данной установки [18].

Рисунок 6 - Иллюстрация конструкции, описанной в патенте WO2016030910A1

Несмотря на положительные результаты рассмотренных патентных разработок, исследования в области создания эффективных гидроэнергетических установок с кинетическими гидротурбинами на плавучем основании остаются недостаточно завершёнными. Недостаточно изучены решения, направленные на снижение гидродинамических потерь и повышение устойчивости работы турбин в условиях свободнопоточного водотока, где скорость течения невелика и подвержена сезонным колебаниям. Особого внимания требуют конструкции, в которых используются тихоходные многополюсные магнитоэлектрические генераторы с аксиальными постоянными магнитами и возможностью встречного вращения якоря и индуктора, что потенциально повышает производительность установки при малых скоростях потока. Кроме того, остаются нерешёнными вопросы оптимизации плавучей платформы - в частности, выбора геометрии поплавков-трапеций с округлыми боковыми поверхностями, влияющих на устойчивость и снижение колебаний конструкции. Недостаточно исследованы и направляющие системы: работа решётки, а также внешней и внутренней комбинированной направляющей, обеспечивающей равномерное распределение потока по лопастям турбины. Помимо этого, в существующих патентах практически отсутствуют разработки, предусматривающие интеграцию дополнительных источников генерации, например фотоэлектрических модулей, что могло бы увеличить суммарную энергоотдачу установки в условиях изменчивых природных факторов.

Цель исследования - разработка и научное обоснование конструкции гидроэнергетической установки с плавучим основанием и кинетической гидротурбиной для свободнопоточных водотоков, основанной на анализе зарубежных технических решений и оценке гидроэнергетического потенциала ирригационной системы Аму-Бухарского канала.

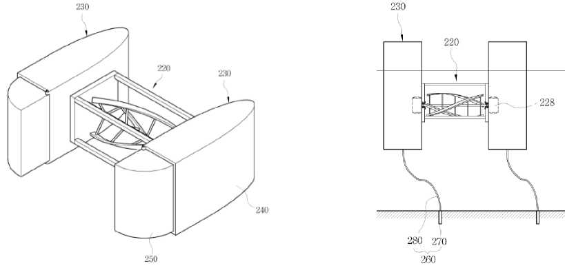
Принцип работы и конструктивные особенности гидроэнергетической установки. Гидроэнергетическая установка (1), представленная на рисунке 7 функционирует за счёт рационального использования кинетической энергии свободнопоточного водотока и конструкции плавучего основания (2), состоящего из поплавков (3), которые компенсируют колебания уровня воды и одновременно способствуют локальному увеличению скорости потока. В передней части основания установлена защитная решётка (5), предотвращающая попадание мусора и твёрдых частиц в рабочую зону. Далее поток направляется к внешней направляющей конструкции (6) с изогнутыми и сужающимися к выходу поверхностями, что ускоряет движение воды и обеспечивает перпендикулярное воздействие на лопасти (13) кинетической гидротурбины (7), повышая её эффективность. После прохождения первой турбины поток распределяется по внутренним направляющим поверхностям (9), которые имеют аналогичную аэрогидродинамическую форму, дополнительно увеличивают скорость воды и обеспечивают оптимальное взаимодействие с лопастями второй кинетической гидротурбины (8). Обе турбины вращаются в одном направлении - против часовой стрелки, передавая механическую энергию на системы ремённой передачи. Турбина (7) приводит в движение большой шкив (28), который через перекрёстную ремённую передачу (29) увеличивает скорость вращения маленького шкива (26) и передаёт движение валу (20), соединённому с якорем (18) тихоходного магнитоэлектрического генератора (17). Вторая турбина (8) через большой шкив (30) и открытую ремённую передачу (31) приводит в движение маленький шкив (27), передающий энергию валу (21), связанному с индуктором (19) того же генератора. В ходе совместного вращения якоря (18) и индуктора (19) в трёхфазных обмотках (44,45) возникает переменный ток, индуцируемый постоянными магнитами (42,43). Сформированная электроэнергия поступает через кабель (35) и контактные кольца (32) в систему управления (37), куда также поступает постоянный ток от солнечной панели (33) через кабель (36). Оба источника - переменный ток от генератора и постоянный ток от солнечной панели - объединяются в гибридном контроллере (38), на выходе которого формируется стабилизированный постоянный ток, аккумулируемый батареей (39). Электроэнергия, накопленная в аккумуляторе, далее направляется к инвертору (40), преобразующему её в переменный ток для питания потребителей (41).

Рисунок 7 - Общий вид гидроэнергетической установки

Для обоснования работоспособности предложенной гидроэнергетической установки с плавучим основанием на рисунках 8 и 9 представлены вид сверху на плавучее основание и схема геометрических размеров направляющих поверхностей внешней направляющей конструкции соответственно. На основе разработанных чертежей определены ключевые радиусы кривизны, основные параметры ускорения потока и коэффициенты использования энергии свободнопоточного водного потока. Полученные графические материалы и аналитические выражения подтверждают корректность выбранных конструктивных решений, показывают их согласованность с предполагаемыми гидродинамическими условиями и демонстрируют высокий потенциал установки для эффективной работы в низконапорных свободнопоточных водотоках.

Рисунок 8 - Вид сверху на плавучее основание

Рисунок 9 - Схема геометрических размеров направляющих поверхностей

Определим параметры эффективности предлагаемой гидроэнергетической установки. Аналитические выражения для определения оптимальных размеров радиуса R 3 направляющих поверхностей внешней направляющей конструкции, приведенной на рисунке 9 имеют следующий вид:

R2 = ОС + СК

СК = AB о oc c°sP = — ' Ri

Из свойств треугольника ΔOʹAO определим следующие выражения:

a + y + о = 180 °

a = 180 ° — p

Y = P (p = 90 °

a

(P~O)

AB sinp = —

R2 = ОС + R3- sinp

R2 = R i ' c°sP + R3 sinp

R 3 = -

-Rycosfi _ R2-R i -cosP

sirup

sin(90 °-(J3-a))

где: R 1 = OA - внутренний радиус внешней направляющей конструкции; R 2 = OʹK -внешний радиус внешней направляющей конструкции; R 3 = AD - радиус внешней направляющей поверхности внешней направляющей конструкции.

Скорость потока воды, проходящая через внешнюю направляющую конструкцию гидроэнергетической установки, приведенной на рисунке 8 определяется через уравнение непрерывности:

S o • V o = S i • V i                                          (10)

Lo-H-Vo = L^HV 1                        (11)

V = ^                     (12)

L 1

Коэффициент использования энергии потока воды микрогидроэлектростанции с двумя кинетическими гидротурбинами определяется из следующего выражения:

Cp = Cp1 + CP2                                  (13) Для первой гидротурбины: CP1 = —P^ = T1'm1 3                          (14) P1 O,5t^V3   O,5t^V3                                    v 7 Для второй гидротурбины: Cp2 = —P2— = Т2'Й2 з                             (15) P2   O,5t^V   O,5t^V                                v 7 где: P1, P2 - мощности первой и второй кинетических гидротурбин; р - плотность воды; S - площадь кинетической гидротурбины взаимодействующей с потоком воды; V1 - скорость потока воды, взаимодействующей с первой кинетической гидротурбиной; V2 - скорость потока воды, взаимодействующей со второй кинетической гидротурбиной; T1, T2 - момент первой и второй гидротурбин; W1, й2 - угловая скорость первой и второй гидротурбин.

Представленные аналитические зависимости подтверждают возможность оптимизации направляющих поверхностей, повышения скорости потока в рабочей зоне и увеличения коэффициента использования энергии за счёт комбинированной работы двух кинетических гидротурбин. Полученные выражения демонстрируют внутреннюю согласованность конструкции и позволяют определить основные параметры установки на этапе проектного моделирования, что создаёт основу для дальнейших опытных исследований и изготовления экспериментального образца.

Заключение. В работе предложена конструкция гидроэнергетической установки с плавучим основанием и двумя кинетическими гидротурбинами, ориентированная на эксплуатацию в условиях низконапорных свободнопоточных водотоков. Выполненный анализ патентных и технических решений позволил выявить ключевые нерешённые задачи и сформировать усовершенствованную компоновку, включающую внешние и внутренние направляющие поверхности, повышающие скорость потока и эффективность турбин. Разработаны геометрические соотношения и аналитические выражения, необходимые для оптимизации конструкции на этапе проектирования. Представленные результаты подтверждают перспективность предлагаемой установки и создают основу для дальнейших экспериментальных испытаний, моделирования рабочих процессов и оценки интеграции с гибридными возобновляемыми источниками энергии.