Технологические особенности и перспективы применения мобильных микро ГЭС для автономного энергоснабжения в горных районах

Автор: Турдуев И.Э., Абдыразакова С.Б., Абсамат кызы Г., Асанов Ч.С.

Журнал: Бюллетень науки и практики @bulletennauki

Рубрика: Технические науки

Статья в выпуске: 2 т.12, 2026 года.

Бесплатный доступ

Исследуются технологические аспекты передвижных мини-гидроэлектростанций, спроектированных для независимого обеспечения электроэнергией удалённых горных местностей. Изучены ключевые инженерные решения, охватывающие разновидности турбин, механизмы контроля и потенциал приспособления к разнообразным гидрологическим параметрам. Акцентируются достоинства мобильных станций – их небольшие размеры, лёгкость перевозки и установки, способность к оперативному запуску и внедрению в местные электросети. Осуществлено сопоставление с обычными источниками энергии. Показано, что мини-ГЭС позволяют значительно уменьшить технические издержки, повысить стабильность электроснабжения и гарантировать бесперебойную работу оборудования даже при неблагоприятных погодных условиях. В статье уделяется внимание экономической оправданности и экологической безопасности применения мобильных микро-ГЭС. Представлен анализ расходов на закупку, установку и обслуживание станций, а также оценка влияния на окружающую среду. Отмечается, что при грамотном планировании и использовании микро-ГЭС оказывают незначительное воздействие на водные ресурсы и экосистемы горных рек.

Еще

Мобильные микро ГЭС, автономное энергоснабжения, возобновляемые источники энергии, малая гидроэнергетика, экология горных рек

Короткий адрес: https://sciup.org/14134432

IDR: 14134432   |   УДК: 621.31   |   DOI: 10.33619/2414-2948/123/20

Technological Features and Prospects of Using Mobile Microelectric Power Plants for Autonomous Energy Supply in Mountainous Areas

This paper examines the technological aspects of mobile mini-hydroelectric power plants designed to independently provide electricity to remote mountainous areas. Key engineering solutions covering turbine types, control mechanisms, and the potential for adaptation to diverse hydrological parameters have been studied. The advantages of mobile stations are emphasized – their small size, ease of transportation and installation, and the ability to quickly launch and integrate into local power grids. Comparison with conventional energy sources has been carried out. It is shown that mini-hydroelectric power plants can significantly reduce technical costs, increase the stability of power supply and guarantee uninterrupted operation of equipment even in adverse weather conditions. The article focuses on the economic justification and environmental safety of the use of mobile micro-hydroelectric power plants. An analysis of the costs of purchasing, installing and maintaining stations, as well as an assessment of the environmental impact, is presented. It is noted that with proper planning and use, micro-hydroelectric power plants have little impact on water resources and ecosystems of mountain rivers.

Еще

Текст научной статьи Технологические особенности и перспективы применения мобильных микро ГЭС для автономного энергоснабжения в горных районах

Бюллетень науки и практики / Bulletin of Science and Practice

УДК 621.31                                      

Горные районы, как правило, отличаются сложным рельефом, удаленностью от централизованных сетей электроснабжения и богатым гидропотенциалом малых рек и ручьев. Обеспечение надежного и доступного энергоснабжения в таких условиях является серьезной проблемой, требующей инновационных подходов. Мобильные микро ГЭС (МГЭС) представляют собой перспективное решение для автономного энергоснабжения горных поселений, фермерских хозяйств, туристических объектов и других потребителей, не подключенных к централизованным сетям. Основная идея мобильной МГЭС заключается в компактности, модульности и возможности быстрой установки и перемещения в оптимальные точки водотока. Это обеспечивает гибкость в использовании гидроресурсов и адаптацию к изменяющимся условиям окружающей среды, таким как сезонные колебания уровня воды или временное пересыхание ручьев. В последние годы наблюдается значительный прогресс в разработке и совершенствовании технологий, применяемых в мобильных микро ГЭС. Новые материалы, эффективные генераторы, интеллектуальные системы управления и возможность интеграции с другими источниками энергии (например, солнечными панелями) открывают широкие перспективы для применения этих систем в горных районах. В данном контексте важно рассмотреть существующие технологические особенности мобильных микро ГЭС, а также определить перспективные направления их развития и применения для обеспечения надежного и устойчивого энергоснабжения в удаленных горных районах. Анализ преимуществ и недостатков, экономических аспектов и экологических последствий позволит оценить потенциал мобильных микро ГЭС как эффективного инструмента для улучшения качества жизни местного населения и стимулирования экономического развития горных территорий. Одним из перспективных направлений развития мобильных микро ГЭС является их интеграция с другими возобновляемыми источниками энергии, такими как солнечные панели и ветрогенераторы. Создание гибридных энергосистем позволяет обеспечить более стабильное и надёжное электроснабжение, снизить зависимость от гидрологического режима и повысить эффективность использования энергетических ресурсов. Такие системы могут быть особенно актуальны для горных районов с неравномерным распределением водных ресурсов и высокой солнечной активностью. Особое внимание уделено перспективам применения мобильных микро ГЭС в контексте развития туризма и малого бизнеса в горных районах. Обеспечение надёжным и экологически чистым электроснабжением способствует повышению уровня комфорта для туристов, созданию новых рабочих мест и развитию местной экономики. Рассмотрены варианты использования микро ГЭС для питания туристических баз, фермерских хозяйств, мастерских и других объектов, расположенных в удалении от централизованных сетей. Несмотря на очевидные преимущества, применение мобильных микро ГЭС имеет и ряд ограничений. К ним относятся зависимость от гидрологического режима, необходимость проведения предварительных исследований и оценки потенциала водных ресурсов, а также сложность получения разрешительной документации. Вместе с тем, современные технологии и инженерные решения позволяют преодолевать эти трудности и успешно внедрять мобильные микро ГЭС в различных горных регионах .

Материалы и методы исследования

Некоторые планы развития Кыргызстана: с 2025 по 2028 год в стране планируют построить дополнительно около 406 МВт генерации. В 2025 г — ввести в эксплуатацию пять малых ГЭС общей мощностью 64 МВт, в 2026 г — 145,56 МВт, в 2027 г — 170,88 МВт, в 2028 г — 25,7 МВт. Эти амбициозные планы представляют собой важный шаг в направлении диверсификации энергетического сектора и снижения зависимости от традиционных источников топлива. Развитие малой гидроэнергетики особенно перспективно, учитывая географические особенности страны и наличие множества небольших рек, пригодных для строительства ГЭС .

К 2030 году правительство Кыргызстана планирует запустить 50 новых малых ГЭС, в том числе при участии частного бизнеса. Эта амбициозная цель является частью национальной стратегии по увеличению энергетической независимости страны и сокращению выбросов парниковых газов. Реализация проекта позволит не только обеспечить растущие потребности экономики в электроэнергии, но и создать новые рабочие места, особенно в сельских регионах [1].

Энергодефицит происходит в силу разных причин, в том числе из-за маловодья и роста населения. Как следствие увеличивается потребление электричества. Выходом из энергокризиса, помимо строительства крупных ГЭС, ТЭЦ и внедрения станций ВИЭ, могут быть малые ГЭС. У нас порядка 150 компаний заинтересованы в этом, но на пути к электрификации немало барьеров, как технического, так и законодательного характера. Например, необходимо определить код ТНВЭД для оборудования, предназначенного для отрасли. Кроме этого, есть предложение включить в список водородную технологию, а также части оборудования, которые используются при строительстве и эксплуатации малых ГЭС [2].

Значимым является и решение проблем экологии, связанных с изменениями климата. Конечно, что энергетическая отрасль страны генерирует до 60 % всего объема выбросов парниковых газов в стране Это связано с тем, что для генерации тепла и электроэнергии широко применяют уголь. Каждый год сжигается до 2 млн. т угля. При сжигании 1 т угля в атмосферу выбрасывается до 3,4 тыс. м3 парниковых газов. Вследствие снижения потребления ископаемого топлива и увеличения генерации энергии на основе возобновляемых источников энергии (ВИЭ), а также усовершенствование системы обеспечения энергией, достижением повсеместной внедрение комплекса мероприятий по энергоэффективности и сбережению предполагается достичь не только смягчающего эффекта. Малые ГЭС нарастили производство электроэнергии на 5% — до 164 млн кВт/ч. Хотя эти данные поразительно свидетельствуют о важной роли малых ГЭС в условиях дефицита электроэнергии и ухудшения климата, их суммарная мощность ничтожна мала, в общем объеме элекрогенерирующих мощностей страны [3].

Решение этих задач требует комплексного подхода, включающего в себя упрощение процедур лицензирования и подключения к сетям. Необходимо создать благоприятную инвестиционную среду, предоставляя льготные условия для проектов в области малой гидроэнергетики. Важным аспектом успешного внедрения мобильных микро ГЭС является разработка и применение современных систем автоматизации и управления. Использование интеллектуальных контроллеров и датчиков позволяет оптимизировать работу установок, повысить их эффективность и снизить эксплуатационные затраты. Удалённый мониторинг и управление позволяют оперативно реагировать на изменения гидрологического режима и предотвращать аварийные ситуации. Для стимулирования внедрения мобильных микро ГЭС необходимо создание благоприятных экономических и нормативно-правовых условий. Государственная поддержка в виде субсидий, льготных кредитов и налоговых преференций может значительно снизить финансовую нагрузку на инвесторов и сделать проекты более привлекательными. Упрощение процедуры получения разрешительной документации и согласования проектов также будет способствовать ускорению внедрения мобильных микро ГЭС. Сложный рельеф горных районов диктует особые требования к системам энергоснабжения. Мобильные микро ГЭС (МГЭС) обладают рядом преимуществ и ограничений, которые необходимо учитывать при проектировании и внедрении. Преимущества использования мобильных микро ГЭС в горной местности (Рисунок 1):

Автономность и независимость: микро ГЭС обеспечивают автономное энергоснабжение, снижая зависимость от централизованных сетей и поставщиков топлива, что особенно важно в удаленных горных районах.

Экологичность: Использование энергии воды является экологически чистым и возобновляемым источником энергии, не производящим вредных выбросов в атмосферу или воду (при соблюдении экологических норм).

Доступность гидроресурсов: Горные районы богаты малыми реками и ручьями, которые могут быть использованы для производства электроэнергии с помощью микро ГЭС.

Модульность и масштабируемость: Мобильные микро ГЭС обычно имеют модульную конструкцию, что позволяет легко масштабировать систему в соответствии с потребностями пользователей.

Быстрая установка и мобильность: Мобильные микро ГЭС разработаны для быстрой установки и перемещения в оптимальные точки водотока, что обеспечивает гибкость в использовании гидроресурсов.

Низкая эксплуатационная стоимость: После установки и запуска микро ГЭС требуют минимального обслуживания и имеют низкую эксплуатационную стоимость, что снижает финансовую нагрузку на пользователей.

Возможность интеграции с другими источниками энергии: микро ГЭС могут быть интегрированы с другими возобновляемыми источниками энергии, такими как солнечные панели или ветрогенераторы, для создания гибридных систем энергоснабжения.

Рисунок 1. Пример модульной конструкции мобильной микро ГЭС

Ограничения использования мобильных микро ГЭС в горной местности:

Зависимость от гидрологического режима : Производительность микро ГЭС зависит от объема и скорости потока воды в реке или ручье. Сезонные колебания уровня воды или временное пересыхание водотоков могут привести к перебоям в электроснабжении. Высокая стоимость начальных инвестиций : Стоимость приобретения и установки микро ГЭС может быть высокой, особенно для небольших поселений или фермерских хозяйств. Необходимость в квалифицированном персонале : Для обслуживания и ремонта микро ГЭС требуется квалифицированный персонал, что может быть проблематично в удаленных районах. Экологические риски : Строительство и эксплуатация микро ГЭС могут оказывать негативное воздействие на окружающую среду, например, изменение гидрологического режима реки, нарушение миграции рыб и ухудшение качества воды. Требуется тщательная оценка воздействия на окружающую среду (ОВОС) и соблюдение экологических норм. Ограниченность мощности : Мобильные микро ГЭС обычно имеют ограниченную мощность, достаточную для энергоснабжения небольших потребителей. Для крупных поселений или промышленных предприятий могут потребоваться более мощные системы. Требования к рельефу и геологии: Для установки микро ГЭС требуется подходящее место с устойчивым грунтом и уклоном, обеспечивающим необходимый напор воды. Риск повреждения при паводках и селях : Горные реки подвержены паводкам и селям, которые могут повредить или разрушить микро ГЭС. Требуется защита от подобных природных явлений (Рисунок 2).

Таблица 1

СРАВНЕНИЕ ПРЕИМУЩЕСТВ И ОГРАНИЧЕНИЙ

МОБИЛЬНЫХ МИКРО ГЭС В ГОРНОЙ МЕСТНОСТИ

Преимущества

Ограничения

Автономность и независимость

Зависимость от гидрологического режима

Экологичность

Высокая стоимость начальных инвестиций

Доступность гидроресурсов

Необходимость в квалифицированном персонале

Модульность и масштабируемость

Экологические риски

Быстрая установка и мобильность

Ограниченность мощности

Низкая эксплуатационная стоимость

Требования к рельефу и геологии

Интеграция с другими источниками энергии

Риск повреждения при паводках и селях

Рисунок 2. Пример установки микро ГЭС на горной реке

Рекомендации для успешного внедрения мобильных микро ГЭС в горной местности:

Тщательное планирование и проектирование: Необходимо тщательно изучить гидрологический режим реки, провести геологические и экологические исследования, разработать проект, учитывающий местные условия и потребности пользователей.

Выбор оптимального места установки: Необходимо выбрать место с достаточным напором воды, устойчивым грунтом и минимальным риском повреждения при паводках и селях. Учитывать экологические требования и влияние на окружающую среду.

Использование качественного оборудования: Необходимо выбирать надежное и долговечное оборудование от проверенных производителей, которое соответствует требованиям безопасности и экологическим нормам.

Обучение местного персонала: Необходимо обучить местный персонал обслуживанию и ремонту МГЭС, чтобы обеспечить ее надежную и долгосрочную работу.

Интеграция с другими источниками энергии: Необходимо рассмотреть возможность интеграции МГЭС с другими возобновляемыми источниками энергии, такими как солнечные панели или ветрогенераторы, для создания гибридных систем энергоснабжения.

Получение разрешений и соблюдение экологических норм : Необходимо получить все необходимые разрешения от государственных органов и соблюдать экологические нормы при строительстве и эксплуатации МГЭС.

Мониторинг и обслуживание: Необходимо регулярно проводить мониторинг работы МГЭС и своевременно выполнять техническое обслуживание и ремонт.

Результаты исследования

Мощность микро ГЭС зависит от индивидуальных факторов местности, таких как расход, скорость и падение воды на исследуемом участке реки. Для определения числа оборотов п водяного колеса используется следующая формула:

30  19

П п' R где 19 - скорость течения, м/с; R - радиус колеса, м; п - отношение периметра колеса к его диаметру.

Зависимость оборотов колеса показвает, что скорость потока воды прямопропорциональная мощности микро ГЭС (Рисунок 3). Во время проведения эксперимента также было замечено, что при увеличении скорости потока увеличивается и расход [1].

Рисунок 3. Зависимость оборотов колеса микро ГЭС от скорости потока

Разработанная микро ГЭС оборудована на водотоке в условиях низкого давления (Рисунок 4), где установлен накопитель электроэнергии для регулирования потока энергии.

Для испытания микро ГЭС было введено в работу водяное колесо, сединенное с генератором с помощью ременной передачи. Результаты испытаний микро ГЭС приведены в Таблице 2.

Рисунок 4. Установленный водяное колесо

Таблица 2

Кол-во испытаний

Сила тока, А

Напряжение, В

Полученная электроэнергия, кВт/ч

1

40,39

200

8,8

2

41,8

234

9,8

3

46,4

224

10,4

4

44,5

207

9,2

5

45,3

210

9,6

6

40,2

214

8,6

Если микро ГЭС будет работат непрерывно, то согласно нашему исследованию можно сделать вывод, что она сможет выработать примерно 9-13 кВт/ч, соответственно 170-266 кВт/ч в день и от 63 до 99 МВт ч/год [1]. Зависимость оборотов колеса микро ГЭС от скорости потока воды – ключевой фактор, определяющий эффективность преобразования гидравлической энергии в электрическую. Эта зависимость нелинейна и подвержена влиянию множества переменных, что делает ее изучение и оптимизацию важной задачей при проектировании и эксплуатации микро ГЭС (Рисунок 5).

Рисунок 5. Накопитель электроэнергии

Основной физический принцип, лежащий в основе этой зависимости, – это передача импульса потока воды лопастям колеса. Чем выше скорость потока, тем больший импульс он передает, что приводит к увеличению вращающего момента на валу колеса. Однако, увеличение скорости потока не всегда приводит к пропорциональному росту оборотов. Форма и геометрия лопастей колеса играют критическую роль. Оптимальная конструкция обеспечивает максимальное поглощение энергии потока при минимальном сопротивлении. Угол атаки лопастей, их профиль и количество – все это параметры, влияющие на общую эффективность преобразования. Кроме того, необходимо учитывать гидродинамическое сопротивление, возникающее при вращении колеса в воде. Это сопротивление пропорционально квадрату скорости вращения, что означает, что с увеличением оборотов сопротивление растет экспоненциально, ограничивая потенциальный прирост оборотов от увеличения скорости потока. Влияние оказывает и нагрузка на генератор, подключенный к колесу. С увеличением нагрузки генератора, требуется больше энергии для поддержания заданной частоты вращения, что, в свою очередь, увеличивает сопротивление вращению колеса и влияет на оптимальную скорость потока. Срок окупаемости затрат на оборудование микро ГЭС был вычислен по формуле:

с

к = ---------------,

Nn • 24 • 365 • Т'

где К - срок окупаемости затрат на оборудование, год; С - общая стоимость оборудования; Т - тариф на электроэнергию за 1кВт/ч; Nn - номинальная активная мощность оборудования, кВт.

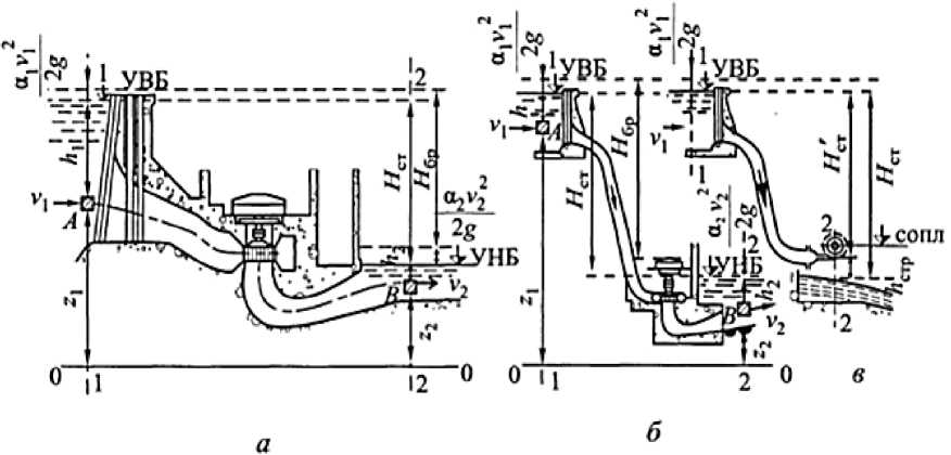
Напоры малых ГЭС определяются в соответствии с типами ГЭС (Рисунок 6). Разность отметов верхнего и нижнего бьефов называется статистическим напором Нст, м;

Нст = vВБ - vНБ

Рисунок 6. Напоры малых ГЭС

Разность удельных энергий потока в сечении 1-1 верхнего бъева для входа в энергетические водоводы и в сечении 2-2, расположенном в нижнем бьефе за отсасывающими трубами гидротурбин, называется напором брутто Н , м.

Нб р

= Нст +

a i V 2 a2v 2

^_^_ — ^_^_

Разность напора брутто и гидравлических потерь в подводящем и отводящем водоводах Ьпот называется напором нетто Нн, м:

Нн = НСт +

O 1 V J

О^2 —_ ^_^_ —_

пот

Поскольку разность кинетических энергий обычно невелика, в большинстве случаев для практических расчетов напор, используемый турбинами ГЭС, м, принимается равным:

Н = Нст

h пот

Потери напора Ьпот обычно составляют 2.. .5% Нст [2].

В конечном итоге, эффективная работа малых ГЭС требует баланса между скоростью потока, конструкцией колеса и нагрузкой генератора. Оптимизация этих параметров позволяет максимизировать выходную мощность и повысить общую эффективность системы. В настоящее время многие фирмы производят переносные микро ГЭС мощностью от 5 до 100 кВт. Они могут работать в различных диапазонах напора и расхода воды (Рисунок 7).

Рисунок 7. Деривационные схемы концентрации напора А-с безнапорной деривацией; б-с напорной деривацией: 1-плотина; 2-водоприемник; 3-деривация; 4-турбинные трубопроводы; 5-здание ГЭС; 6-уравнительный резервуар.

При монтаже и эксплуатации не требуют квалификационного обслуживающего персонала. Обеспечивают электроэнергией бытовые электроприборы, светильниики и переносные технологические оборудования. Наиболее рациональные схемы расположения микро ГЭС в горных местностях показаны на Рисунке 8 и 9.

Принцип работы микро ГЭС с деривационным каналом (рис. 8) заключается в том, что вода отводиться по деривационному каналу с небольшим уклоном и за счет длины канала достгается необходимы напор воды. Дальше вода по напорному трубопроводу подается на гидроагрегат, расположенный в здании, использованная вода возвращается обратно в реку. В отличие от ГЭС с деривационным каналом, микро ГЭС без деривационного канала, необходимый напор достигается за счет естественных природных условий – большого уклона русла реки [3].

Рисунок 8. Напорная микро ГЭС с деривационным каналом

Рисунок 9. Напорная микро ГЭС без деривационного канала

Вывод

Итак, мобильные микро ГЭС представляют собой перспективное решение для автономного энергоснабжения в горных районах. Благодаря своей мобильности, компактности и экологичности, они позволяют обеспечить надёжное и устойчивое электроснабжение, способствуют развитию местной экономики и повышению уровня жизни населения. Дальнейшие исследования и разработки в этой области позволят расширить сферу применения мобильных микро ГЭС и сделать их более доступными для широкого круга потребителей. Мобильные микро ГЭС являются не только перспективным решением для автономного энергоснабжения в горных районах, но и важным инструментом устойчивого развития. Они позволяют обеспечить надёжное и экологически чистое электроснабжение, способствуют развитию местной экономики и сохранению уникальной природы горных регионов. Дальнейшее развитие и внедрение мобильных микро ГЭС будет способствовать повышению уровня жизни населения и созданию благоприятных условий для развития туризма и малого бизнеса. Мобильные микро ГЭС представляют собой перспективное решение для автономного энергоснабжения в горных районах, но их успешное внедрение требует тщательного планирования, проектирования и учета местных условий. Анализ преимуществ и ограничений, а также следование рекомендациям, изложенным выше, позволит обеспечить надежное и устойчивое энергоснабжение удаленных горных поселений и улучшить качество жизни местного населения.