Устройство для увлажнения сыпучих кормов

Автор: Сабиев У.К., Есмаганбетов Е.С.

Журнал: Вестник Омского государственного аграрного университета @vestnik-omgau

Рубрика: Агроинженерия

Статья в выпуске: 4 (60), 2025 года.

Бесплатный доступ

Представлен обзор различных конструкций технических средств и установок для увлажнения сыпучих кормов. По результатам критического анализа определено, что большинство подобных устройств отличаются сложностью конструкции, нестабильным выполнением технологического процесса при эксплуатации и некачественным увлажнением комбикорма. Предложен увлажнитель сыпучих кормов. По сравнению с известными конструкциями подобных устройств имеет более простое конструктивное решение и обеспечивает качественное увлажнение корма в пределах заданной влажности. На конструкцию предлагаемого увлажнителя получено положительное решение на выдачу патента на полезную модель. Подробно изложены устройство для увлажнения концентрированных кормов и принцип его действия. Раскрыты его техническая особенность и взаимосвязь отличительных признаков в процессе работы. У конструкции повышенная эксплуатационная надежность технологического процесса работы, независимо от высоты столба корма в бункере и наличия или отсутствия примесей, присутствующих в комбикорме. Представлена техническая характеристика предлагаемого устройства для увлажнения сыпучих кормов. Приведены формулы для определения качества увлажнения сыпучих кормов и количества жидкости (воды), необходимой для увлажнения. В таблице для заданной влажности от 30 до 70 приведен расход жидкости из расчета на 1 кг сухого корма при исходной влажности комбикорма, принятой 11, 12 и 13%. Результаты экспериментальных исследований показали хорошее качество увлажнения корма в широком диапазоне заданной влажности, значительно снизились запыленность воздуха в помещении и повысилась эффективность использования комбикормов.

Еще

Концентрированные корма, жидкие кормовые добавки, заданная влажность, установка, увлажнитель кормов, однородность увлажнения

Короткий адрес: https://sciup.org/142246735

IDR: 142246735   |   УДК: 631.363.2.02.001.57

Device for moistening bulk feed

Systems for moistening bulk feed. These devices are characterized by complex designs, inconsistent process performance during operation, and poor feed moistening. A device for moistening bulk feed is proposed. Compared to existing similar devices, it features a simpler design and ensures high-quality feed moistening within a specified moisture content. A patent for a utility model has been granted for the proposed moistener. The proposed device for moistening concentrated feed and its operating principle are described in detail. The technical features of the device for moistening bulk feed and the interrelationships between its distinguishing features during operation are disclosed. The design of the moistener ensures increased operational reliability, regardless of the feed column height in the bin and the presence or absence of impurities in the feed. The technical specifications of the proposed device for moistening bulk feed are presented. Formulas are provided for determining the quality of dry feed moistening and the amount of liquid (water) required for feed moistening. The table shows the liquid consumption per 1 kg of dry feed for a given moisture content of 30 to 70%, with the initial feed moisture content set at 11, 12, and 13%. Experimental studies demonstrated good feed moistening quality across a wide range of specified moisture levels, significantly reducing indoor air dust levels, and increasing feed efficiency.

Еще

Текст научной статьи Устройство для увлажнения сыпучих кормов

Известно, что кормление животных концентрированными кормами, и в частности комбикормом, может осуществляться как в сухом, так и во влажном состоянии. Увлажнение концкормов производят или в процессе подготовки (осолаживание, дрожжевание) или непосредственно при выдаче за счет смачивания водой или питающим раствором. Доказано наиболее эффективное скармливание концкорма во влажном состоянии с относительной влажностью 65-75%. Это дает возможность повысить продуктивность, улучшает микроклимат в помещении за счет устранения распыливания кормов, а также снижает риск возникновения легочных заболеваний животных. Кроме того, по сравнению с сухими, кормление животных увлажненными концентрированными кормами повышает усвояемость и скорость поедания кормов [1].

Существуют различные конструкции технических средств и установок для увлажнения сыпучих кормов [2–6]. На основе обзора и критического анализа следует отметить их сложную конструкцию, не всегда обеспечивающую качественное увлажнение комбикорма и нестабильное выполнение технологического процесса при эксплуатации [7].

Известен увлажнитель для корма, включающий бункер с выгрузной горловиной и распределителем корма [8]. Одно из его существенных недостатков – недостаточно стабильное и четкое выполнение технологического процесса. Причиной всего этого является образование заторов корма в процессе дозирования с последующим увлажнением, в результате снижаются эксплуатационные качества увлажнителя.

Для повышения эффективности работы увлажняющих технических средств необходимо создание принципиально новых машин подобного функционального назначения и внесение изменений для улучшения конструкции существующих [9].

Объекты и методы

В связи с вышеизложенным нами предлагается конструкция установки для увлажнения сыпучего корма, представленная на рисунке, на которую получено положительное решение на выдачу патента на полезную модель.

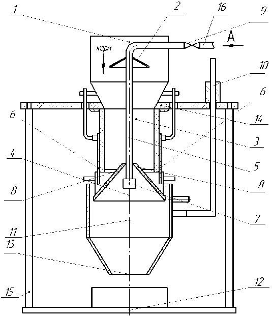
Устройство для увлажнения корма состоит из следующих частей: бункера 1, козырька-отражателя 2, выгрузной горловины 3, распределителя корма 4, патрубка жидкости 5, манжеты 6, распылителя 7, лопаток 8 распределителя корма, пробкового крана 9, рычага 10, цилиндрической камеры увлажнения 11, опорной пластины 12, выпускного отверстия 13, плиты 14, стойки 15 и водоподающей магистрали 16.

Устройство работает следующим образом.

При нажатии на рычаг 10 вниз происходит воздействие на манжету 6, которая при этом поднимается и открывает пробковый кран 9. Рычаг 10 опирается на плиту 14, соединенную стойками 15 с опорной пластиной 12. Комбикорм загружают в бункер 1, далее он поступает на козырёк-отражатель 2 для равномерного и поступательного распределения комбикорма. Затем комбикорм поступает в выгрузную горловину 3 и далее направляется по распределителю корма 4. Лопатки 8 распределителя корма способствуют побуждению комбикорма тем самым придавая стабильное истечение корма без образования заторов в камеру увлажнения корма 11. В это же время одновременно происходит увлажнение комбикорма с помощью распылителя 7. К последнему жидкость поступает по патрубку 5 через открытый пробковый кран 9.

Vestnik of Omsk SAU, 2025, no. 4 (60)

AGROENGINEERING

Готовый увлажненный комбикорм из увлажнителя выводится через выпускное отверстие 13 камеры смешивания. Кроме того, выгрузная горловина и вершина конуса распределителя корма связаны с манжетой, установленной с возможностью возвратнопоступательного перемещения в вертикальной плоскости посредством рычага 10, тем самым регулируется расход сыпучего корма. Патрубок для подачи жидкости 5 и распылитель жидкости 7 присоединены к водоподающей магистрали 16, на которой установлен пробковый кран 9, посредством которого регулируют расход увлажняющей жидкости.

Козырек-отражатель, установленный в бункере, в виде полого конуса, воспринимает нагрузку от высоты столба комбикорма, находящегося в бункере, и обеспечивает его равномерную подачу сначала в выгрузную горловину, а затем и в распределитель. Это способствует повышению эксплуатационной надежности протекания технологического процесса увлажнения комбикорма, независимо от высоты столба корма в бункере.

Лопатки, установленные на распределителе, воздействуют на подаваемый комбикорм за счет удара подаваемого корма при падении на поверхность распределителя, вызывая его побуждение и тем самым придавая стабильное истечение корма без образования заторов в камеру увлажнения корма. Все это способствует осуществлению технологического процесса в установившемся режиме, комбикорм поступает стабильно и принудительно за счет лопаток, независимо от наличия или отсутствия примесей, присутствующих в комбикорме, и таким образом повышает эксплуатационную надежность установки для увлажнения.

Общий вид установки для увлажнения сыпучих кормов: 1 – бункер, 2 – козырёк-отражатель, 3 – выгрузная горловина, 4 – распределитель корма, 5 – патрубок для подачи жидкости, 6 – манжета, 7 – распылитель жидкости, 8 – лопатки, 9 – пробковый кран, 10 – рычаг, 11 – камера для увлажнения корма, 12 – опорная пластина, 13 – выпускное отверстие, 14 – плита, 15 – стойки, 16 – водоподающая магистраль

Vestnik of Omsk SAU, 2025, no. 4 (60)

AGROENGINEERING

Техническая характеристика предлагаемой установки для увлажнения сыпучих кормов:

Пределы увлажнения корма, %

Выдача сыпучего корма, кг/с

Выдача жидкости, кг/с

Степень однородности увлажнения, %

30–70 0,5–1,4 0,8–1,0 85–90

Отметим, что пропускная способность увлажнителя с диаметром камеры смешивания 200 мм составляет 8 т/ч при увлажнении сыпучего корма до 60%.

За оценочный показатель работы предлагаемой установки было принято качество увлажнения корма. Количественная оценка качества увлажнения производилась степенью однородности увлажнения корма (θ) [10]:

n • щ

n 1             n 2

E щ+Е(2щ - щ)

i = 1            i = 1

•100%,

где n 1 – число проб с ω i < ω3;

  • n 2 – число проб с ω i > ω3;

  • ω i – относительная влажность i-й пробы, %;

  • ω 3 – заданная влажность кормовой смеси, %;

  • n – общее число взятых проб, равное сумме двух проб n 1 и n 2 .

В качестве регулировочного параметра при увлажнении корма был принят расход воды, определяемый по формуле:

Рв = Pk (w3 — wk) / (100 — w3) ,                    (2)

где P к – масса сухого корма – принимается за единицу;

  • ω 3 – заданная влажность корма, %;

  • ω к – исходная влажность корма, %

Как было отмечено выше, общий выход увлажненного корма зависит от продолжительности открытия выпускного клапана комбикорма и крана увлажняющей жидкости. Результаты расчетов необходимого количества жидкости на 1 кг сухого корма, выполненные нами согласно формуле (2), представлены ниже в таблице для различных значений исходной влажности комбикорма.

Данные по расчету жидкости на 1 кг сухого корма

Заданная влажность, %

Расход воды при исходной влажности, %

11

12

13

30

0,27

0,26

0,24

35

0,37

0,35

0,34

40

0,48

0,47

0,45

45

0,62

0,60

0,58

50

0,78

0,76

0,74

55

0,98

0,96

0,94

60

1,22

1,20

1,17

65

1,54

1,51

1,49

70

1,96

1,93

1,90

Vestnik of Omsk SAU, 2025, no. 4 (60)

AGROENGINEERING

Доказано по результатам проведенных экспериментов о том, что фактическая величина влажности корма при разном соотношении корма и воды находится в пределах зоотехнического допуска, отклонение полученной влажности от заданной в среднем составляет не более 3%.

Заключение

Предложена установка для увлажнения корма, описано ее устройство и принцип действия.

Результаты экспериментальных исследований показали, что установка обеспечивает качественное увлажнение сыпучих кормов в широком диапазоне заданной влажности.