Использование продуктов переработки облепихи в рецептуре макаронных изделий и обеспечение мер их безопасности
Автор: Дугарова И.К., Доржиева А.А.
Журнал: Вестник Восточно-Сибирского государственного университета технологий и управления @vestnik-esstu
Рубрика: Пищевые системы (биологические науки, технические науки)
Статья в выпуске: 1 (100), 2026 года.
Бесплатный доступ
Статистические исследования демонстрируют устойчивую тенденцию к увеличению интереса потребителей к функциональным продуктам питания, способствующим поддержанию здоровья. Особую популярность набирают макаронные изделия, обогащенные полезными компонентами. Это особенно актуально в контексте растущей тенденции потребления экологически чистых и органических продуктов среди приверженцев здорового образа жизни. Разработанные в настоящей работе макаронные изделия, содержащие в качестве добавки порошкообразные вторичные продукты переработки облепихи, характеризуются высокими органолептическими показателями качества, соответствующими нормативным требованиями по физико-химическим показателям качества теста и готовых изделий, повышенным содержанием биологически активных веществ. Для управления качеством и безопасностью разработаны меры по управлению рисками при выработке макаронных изделий с включением порошка из вторичного сырья переработки облепихи.
Сушеная мякоть, порошок, ресурсосберегающие технологии, качество, безопасность
Короткий адрес: https://sciup.org/142247363
IDR: 142247363 | УДК: 664.8: 664.1: 664.6 | DOI: 10.53980/24131997_2026_1_6
Sea buckthorn processed products in pasta recipe and safety measures provision
Statistics shows a steady increasing trend in consumers’ interest in functional healthy foods. Pasta products enriched with useful ingredients are gaining particular popularity. This is especially true in the context of the growing trend of organic and eco-friendly products among health-conscious individuals. The pasta products developed by the study, contains powdered secondary sea buckthorn processing products as additives. They are characterized by high organoleptic quality indicators, which correspond to regulatory requirements for physical and chemical quality indicators of dough and finished products, high biologically active substances content. To manage quality and safety, risk management measures have been developed for pasta production with powder from secondary sea buckthorn processing materials.
Текст научной статьи Использование продуктов переработки облепихи в рецептуре макаронных изделий и обеспечение мер их безопасности
Одним из основных направлений государственной политики в сфере обеспечения продовольственной безопасности является расширение ассортимента и объемов производства пищевой продукции массового потребления, обеспечение населения качественной и безопасной пищевой продукцией. Макаронные изделия, количество потребления которых постоянно возрастает в рационе населения нашей страны, занимают важное место, что обусловлено высокими потребительскими свойствами макаронных изделий, длительным сроком хранения, минимальными затратами времени на их приготовление и низкой стоимостью.
Актуальной проблемой макаронной отрасли является обогащение макаронных изделий важными нутриентами. Имеется ряд работ, посвященных повышенной пищевой и биологической ценности макаронных изделий за счет включения в рецептуру макаронных изделий молочных, мясных и растительных продуктов в натуральном, высушенном виде, а также в виде пюре, соков, концентратов, экстрактов [1-8].
Перспективным сырьем являются добавки из овощей и фруктов. Среди большого разнообразия плодов и ягод, произрастающих на территории Республики Бурятия, особого внимания заслуживает облепиха, уникальность которой определяется содержанием углеводов, пектиновых, дубильных и азотистых веществ, витаминов, антиоксидантов, макро- и микроэлементов. В настоящее время облепиха используется преимущественно для производства масла, а меньшая доля сырья идет на изготовление консервов и других продуктов. При переработке образуется значительное количество вторичных сырьевых ресурсов (ВСР) и отходов, включая выжимки, жмыхи и семена (до 85 % от исходной массы). Большая часть остается невостребованной. В данное время это стало актуальной задачей в сфере ресурсосбережения и получило отражение в Стратегии развития промышленности по обработке, утилизации и обезвреживанию отходов производства и потребления на период до 2030 г. [9], в соответствии с которой отмечена высокая их ресурсная ценность.
Жмыхи, относящиеся к видам ВСР, отличаются насыщенным биохимическим составом: в них присутствуют белки, минералы, углеводы, витамины и микроэлементы. Хотя переработка облепихового жмыха и его применение при создании новых продуктов уже исследуются [10-13], возможности использования ВСР в пищевой промышленности пока реализуются не в полной мере.
Порошок, произведенный из сушеной мякоти облепихи [14], характеризуется благоприятными органолептическими показателями и выраженными сыпучими свойствами. Массовая доля влаги 8,0, золы - 0,7 %, 8 незаменимых аминокислот (в составе доминировали треонин, тирозин+фенилаланин, валин, лизин, лейцин+изолейцин), витамины С, В2, В3, В6, минеральные вещества кальций, магний.
Цель работы – разработка рецептуры и технологии производства макаронных изделий с использованием порошка из ВСР облепихи с обеспечением мер их безопасности.
Материалы и методы исследования
В работе применяли муку пшеничную хлебопекарную 1-го сорта (ГОСТ 26574-2017), порошок, полученный из ВСР плодов облепихи [14]. Порошок из ВСР плодов облепихи получали путем измельчения и просеивания сушеной мякоти, отделенной из выжимок плодов, которые после отжима сока подвергали сушке при температуре не выше 45 °C.
Объектами исследования являлись макаронные изделия группы В и макаронное тесто. Макаронные изделия изготавливали на основе муки пшеничной хлебопекарной 1-го сорта с использованием холодного замеса. Опытные образцы отличались от контрольного заменой части муки пшеничной 1-го сорта в рецептуре макаронных изделий порошком, полученным из ВСР плодов облепихи (образцы 1–3 соответственно). Унифицированные рецептуры контрольного и опытных образцов представлены в таблице 1.
Показатели качества макаронных изделий определяли с использованием следующих методов: органолептическую оценку осуществляли, используя установленные описательные термины, влажность – методом высушивания до постоянной массы при температуре 100 ± 5 ° С (ГОСТ 31964-2012), кислотность - методом титрования (ГОСТ 31964-2012), количество и качество клейковины – путем отмывания ручным способом и определения величины деформации сжатия на измерителе деформации клейковины (ИДК) (ГОСТ 27839-2013), определение золы нерастворимой в 10%-ном растворе HCl– путем обработки золы 10%-ным 7
раствором соляной кислоты при нагревании, фильтрации раствора и сжигании осадка на фильтре в муфельной печи (ГОСТ 31964-2012), общее содержание азота определяли по методу Кьельдаля, определение клетчатки - по методу Кюшнера и Ганека, содержание аскорбиновой кислоты – йодометрическим методом в модификации Л. П. Солоненко.
Таблица 1
Унифицированная рецептура макаронных изделий
|
Наименование сырья |
Расход количества сырья, в кг на 100 кг муки |
|||
|
контроль |
опытные образцы |
|||
|
1 |
2 |
3 |
||
|
Мука пшеничная хлебопекарная 1-го сорта |
100,0 |
99,0 |
97,0 |
95,0 |
|
Порошок из ВСР облепихи |
— |
1,0 |
3,0 |
5,0 |
|
Вода |
По расчету |
|||
Результаты исследования и их обсуждение
Компании должны учитывать вкусы покупателей, предлагая разнообразные виды пищевой продукции с различными добавками. Важным направлением является производство продукции для здоровья. Массовое обследование населения, проводимые Институтом питания РАМН, показывает дефицит витаминов и других необходимых микроэлементов, что негативно сказывается на здоровье людей. В связи с этим актуальна разработка рецептур здоровьесберегающей продукции, включая с добавками облепихи, богатой витаминами и минералами. Для разработки новых видов продукции постоянно изучаются тенденции по предпочтениям потребителей. В настоящее время используют такие платформы, как Google trends и Яндекс Wordstat. Данные рисунка 1 показывают, что существует постоянный спрос на макаронные изделия.
апрель июль октябрь
Рисунок 1 – Статистика запросов по обогащенным макаронным изделиям в Google trends [15]
В то же время потребители все больше обращают внимание на качество продуктов и выбирают продукцию, которая поможет поддерживать их здоровье и благополучие. Макаронные изделия с добавлением полезных ингредиентов становятся все более популярными среди людей, стремящихся к здоровому образу жизни, с учетом тенденции роста спроса на натуральные и органические продукты.
Была разработана ресурсосберегающая технология макаронных изделий, при приготовлении макаронного теста порошок из сушеной мякоти жмыха облепихи смешивали с мукой пшеничной хлебопекарной согласно рецептуре, представленной в таблице 1, количество воды на замес рассчитывали с учетом влажности исходного сырья. Влажность макаронного теста составляла 30-35 %. Макаронное тесто формовали в виде лапши и высушивали при температуре 30 ° С, дальнейшая сушка и стабилизация происходили без подогрева. Затем оценивали органолептические показатели качества готовых макаронных изделий (табл. 2).
Органолептические показатели с увеличением порошка из сушеной мякоти облепихи улучшались. Однако увеличение расхода добавки свыше 3 % приводило к ухудшению формуемости теста, что, возможно, связано с ростом влагопоглотительной способности порошка из ВСР облепихи, несмотря на то что вода в изделия добавлялась по расчету. Так при расходе добавки 5 % снижались пластичные свойства теста, однородность, поверхность теста становилась более шершавой, трескалась при раскатке и рвалась при резке.
Таблица 2 Органолептические показатели качества макаронных изделий
|
Показатель |
Характеристика исследуемых образцов макаронных изделий |
|||
|
контрольный образец |
опытный образец |
|||
|
1 |
2 |
3 |
||
|
Цвет |
цвет изделий соответствует цвету используемого сырья, белый с желтоватым оттенком |
цвет изделий соответствует цвету используемого сырья, светло желтый |
цвет изделий соответствует цвету используемого сырья, светло оранжевый |
цвет изделий соответствует цвету используемого сырья, темнооранжевый |
|
Форма |
соответствующая типу изделий |
тесто при формовании крошится, рвется, в целом соответствующая типу изделий |
||
|
Вкус |
свойственный данному изделию |
слабо выражен ный вкус добавки |
выраженный вкус добавки |
сильно выраженный вкус добавки |
|
Запах |
свойственный данному изделию |
слабо выраженный запах добавки, без посторонних запахов |
||
С целью изучения влияния добавки на свойства теста были проведены исследования количества и качества клейковины макаронного теста (рис. 2).
а
б
в
Рисунок 2 – Исследование свойств клейковины макаронного теста:
а - содержание клейковины; б - растяжимость клейковины; в - качество клейковины по ИДК
Из рисунка 2 видно, что содержание клейковины с увеличением количества добавки порошка из ВСР облепихи снизилось на 23,9 % в связи с уменьшением доли клейковинных белков в составе макаронного теста. Растяжимость клейковины макаронного теста повышалась при добавлении порошка из ВСР облепихи на 25 %, и при этом она характеризовалась как средняя, в образце 3 – на 33 %. На основании данных о растяжимости и прибора ИДК (измеритель деформации клейковины) по качеству клейковина всех образцов относится к ΙΙΙ группе – неудовлетворительная крепкая, малоэластичная, крошащаяся. Отсюда можно заключить, что добавление порошка из ВСР облепихи свыше 3 % ухудшало структурномеханические свойства макаронного теста.
На рисунке 3 представлены изображения контрольного и опытных образцов.
а б
в г
Рисунок 3 – Образцы макаронных изделий: а - контроль; б - образец 1; в - образец 2; г - образец 3
Оптимальным является образец 2, поскольку повышенный расход добавки приводит к ухудшению потребительских и структурно-механических свойств продукта, а меньшее количество порошка вводить нецелесообразно, так как этого недостаточно для эффективного обогащения изделий биологически активными веществами. В высушенных макаронных изделиях в контрольном и образце 2 проводили анализ содержания биологически активных веществ (табл. 3).
Таблица 3
Содержание биологически активных веществ в макаронных изделиях
|
Показатель |
Характеристика образцов макаронных изделий |
|
|
контроль |
образец 2 |
|
|
Содержание: Моносахаридов, %: - фруктоза |
0,12 ± 0,1 |
0,24 ± 0,1 |
|
- глюкоза |
0,31 ± 0,1 |
0,59 ± 0,1 |
|
Сахароза, % |
0,29 ± 0,1 |
0,33 ± 0,1 |
|
Клетчатка, % |
6,02 ± 0,2 |
9,8 ± 0,2 |
|
Зольность, % |
0,74 ± 0,2 |
0,86 ± 0,2 |
|
Макроэлементов, мг/кг: - кальций |
380,8 ± 0,1 |
460,0 ± 0,1 |
|
- магний |
242,8 ± 0,1 |
354,8 ± 0,1 |
Установлено, что в образце 2 содержание клетчатки увеличилось на 62,7 %, минеральных веществ (зола) - на 16,2 %, в том числе кальция – на 20,8 %, магния – на 46 % по сравнению с контрольным образцом.
В таблице 4 представлено изменение свойств макаронных изделий.
Таблица 4 Свойства макаронных изделий
|
Показатель |
Характеристика по ГОСТ 31743-2017 «Изделия макаронные. Общие технические условия» |
Характеристика образцов |
|
|
контроль |
образец 2 |
||
|
Выход изделий, % |
- |
86,6 ± 1,5 |
97,95 ± 1,5 |
|
Сухое вещество, перешедшее в варочную воду, % |
6,0 |
4 ± 0,4 |
3,1 ± 0,4 |
|
Сохранность формы сваренных изделий, % |
100 |
80,1 ± 1,0 |
90,0 ± 1,0 |
|
Время варки, мин |
- |
13 |
22 |
Из данных таблицы 4 можно отметить, что наблюдалось увеличение выхода готовой продукции на 11,6 % , что обусловлено формированием устойчивых связей между молекулами воды и компонентами порошка, более высоким содержанием клетчатки (табл. 3), повышенным расходом воды при замесе теста из-за высокой водопоглощающей способности порошка. При определении варочных свойств установили возрастание времени варки образца 2 на 9 мин, снижение количества сухих веществ, перешедших в варочную среду, - на 22,5 %, повышение сохранности формы на 12,5 % по сравнению с контролем. Данные изменения вызваны приростом в составе пищевых волокон (клетчатки), снижением доли крахмала в составе макаронного теста, что и обусловило минимальный переход крахмала в варочную воду.
В таблице 5 представлены физико-химические показатели качества изделий.
Таблица 5
Физико-химические показатели качества макаронных изделий
|
Показатель |
Характеристика по ГОСТ 31743-2017 «Изделия макаронные. Общие технические условия» |
Характеристика образцов |
|
|
контроль |
образец 2 |
||
|
Влажность изделий, % |
не более 13 |
5,3 |
6,8 |
|
Кислотность изделий, град |
4 |
1 |
1,7 |
|
Наличие зараженности и загрязненности вредителями хлебных запасов |
не допускается |
отсутствует |
|
В результате проведенного исследования установлено, что массовая доля влаги в макаронных изделиях с добавлением порошка из ВСР облепихи превышала значение контрольного образца на 28,3 % , однако соответствовала требованиям нормативной документации. Анализ показал, что уровень кислотности макаронных изделий с добавлением порошка превышал контрольные значения на 70 % . Данный факт объясняется повышенным содержанием титруемых кислот в облепиховом порошке. Тем не менее показатели оставались в рамках допустимых норм.
Исследование влияния порошка на органолептические характеристики готовых изделий показало сохранение оранжевой окраски изделий (с меньшей интенсивностью после термообработки), отсутствие негативного воздействия на внешний вид, вкусовые качества и ароматические свойства, консистенцию готового продукта.
В макаронных изделиях были исследованы микробиологические показатели (табл. 6).
Таблица 6
Микробиологические показатели безопасности макаронных изделий
|
Наименование образцов макаронных изделий |
Количество мезофильных аэробных и факультативноанаэробных микроорганизмов, КОЕ/г, не более |
Масса продукта (г), в которой не допускаются |
Дрожжи и плесени (сумма КОЕ/г, не более) |
||
|
бактерии группы кишечной палоч ки (колиформы) |
S. aureus |
патогенные, в том числе сальмонеллы |
|||
|
Контроль |
1×104 |
не обнаружены |
|||
|
Образец 2 |
1×104 |
не обнаружены |
|||
Микробиологические показатели макаронных изделий находились в пределах установленных норм [16].
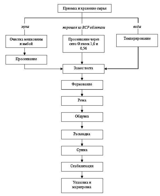
Таким образом, была разработана унифицированная рецептура макаронных изделий с добавлением порошка из ВСР облепихи. Технологическая схема макаронных изделий с добавлением порошка из ВСР облепихи представлена на рисунке 4.
Согласно Техническому регламенту ТР ТС 021/2011 «О безопасности пищевой продукции» [16], производители обязаны обеспечивать выпуск продукции, которая соответствует высоким стандартам качества, гарантирует безопасность для потребителей, удовлетворяет запросы покупателей, отвечает всем требованиям действующего законодательства. Чтобы подтвердить безопасность производимых пищевых продуктов, предприятиям необходимо внедрять систему ХАССП и разрабатывать комплекс мероприятий, основанных на ее принципах. В связи с этим необходимо разрабатывать последовательность действий для снижения рисков при производстве макаронных изделий с добавлением порошка из ВСР переработки облепихи. Первоначально была разработана схема технологического процесса производства макаронных изделий порошка из ВСР облепихи, представленная на рисунке 4.
Рисунок 4 – Технологическая схема производства макаронных изделий с добавлением порошка из ВСР облепихи
Затем провели анализ опасностей и идентификацию опасных факторов в соответствии с ГОСТ Р 51705.1-2024.
Управление опасными факторами заключается в проведении анализа опасностей и установление весьма опасных факторов в виде критических контрольных точек (ККТ), которые могут присутствовать при приемке, хранении сырья и готовой продукции, в производственных процессах при производстве макаронных изделий
Путем построения диаграммы анализа рисков определили перечень опасных факторов (табл. 7). Проведена селекция наиболее существенных рисков, способных возникнуть в процессе производства и повлечь серьезные угрозы здоровью потребителей.
Виды опасностей и опасные факторы при производстве макаронных изделий (фрагмент)
Таблица 7
Группа ХАССП по каждому потенциальному фактору провела анализ риска с учетом вероятности появления фактора и значимости его последствий и составляет перечень факторов, по которым риск превышает допустимый уровень и привела краткую характеристику каждого опасного фактора. В работе учитывали опасные факторы, присутствующие в продукции, а также исходящие от оборудования, окружающей среды, персонала и т. д.
Оценили серьезность (тяжесть) возможных последствий употребления в пищу потребителем пищевого продукта, содержащего какой-либо опасный фактор, и вероятность его появления (табл. 8).
Таблица 8
|
№ п/п |
Наименование видов опасностей и опасных факторов |
s S Р & £ |
S о |
s Р м С Я 1 ° ° “ § S л В S U Он |
га a s : й О 'S' S 2 о § s Ь “ ° й + * 3 » 8 о |
|
1 |
Микробиологические опасные факторы |
||||
|
см. таблицу 7 |
3 |
1 |
- |
|
|
2 |
Химические опасные факторы |
||||
|
Токсичные элементы: мг/кг, не более: Свинец - 0,5; мышьяк - 0,2; кадмий - 0,1; ртуть - 0,03 Микотоксины: Афлотоксин В1 - 0,005; дезоксиниваленол - 0,7; Т-2 токсин - 0,1; Зеараленон – 0,2; Охратоксин А – 0,005 Пестициды: ГХЦГ (α, β, γ - изомеры) - 0,5; ДДТ и его метаболиты - 0,02; Гексахлорбензол - 0,01; Радионуклиды, удельная активность, Бк/кг (л): цезий 137 - не более 60. |
см. таблицу 7 |
1 |
2 |
- |
|
|
3 |
Физические опасные факторы |
||||
|
Наличие металлопримесей, остатков мешковины, ниток |
см. таблицу 7 |
2 |
2 |
- |
|
Анализ рисков по каждому потенциальному фактору
В зависимости от представленной информации группа ХАССП проводит оценку тяжести последствий и оценку вероятности реализации каждого опасного фактора. Например, оценка тяжести последствий попадания упаковочных материалов равна 2, и оценка вероятности реализации равна 2, необходимость учета опасного фактора отсутствует, так как находится ниже области недопустимого риска.
На основании данных, полученных при анализе рисков возникновения опасных факторов при производстве макаронных изделий, построили диаграмму анализа рисков по сырью и по технологическому процессу. Диаграмма представлена на рисунке 5.
Применение древа принятия решений при анализе технологии производства нового состава позволило определить 2 ККТ: ККТ1 Сушка макаронных изделий, ККТ2 Хранение готовой продукции. Для выявленных ККТ установлены критические пределы.
Все вышеперечисленные шаги были необходимы для разработки высококачественного продукта, который соответствует требованиям потребителей и нормативных документов.
|
СМб, СМ7Г СХ4 |
Область недопустимого риска |
|
|
ТПМ1-ТПМ'б ПСМ1-ПСМ6 1 ПСХ1-ПСХ7 I |
УФМ1-УФМ7 УФ1-УФ7 | УХ1-УХ7 |
|
|
ХМ1-ХМ7 ХФ1-ХФ7 ХХ1-ХХ7 , |
Область допустимого риска ММ1-ММ6 ь ВМ1-ВМ6 |
1 2 3 4
Вероятность реализации опасного фактора
Рисунок 5 – Диаграмма анализа рисков по сырью и по технологическому процессу
Реализация данной технологии может принести значительные выгоды как компании-производителю продукции, так и потребителям, получающим качественный и полезный продукт.
Заключение
В данной работе была разработана унифицированная рецептура макаронных изделий с добавлением порошка из ВСР облепихи. Анализ органолептических показателей новых макаронных изделий показал сохранение оранжевой окраски изделий (с меньшей интенсивностью после термообработки), отсутствие негативного воздействия на внешний вид, хорошие вкусовые качества и ароматические свойства, консистенцию готового продукта. В макаронных изделиях были исследованы микробиологические показатели, которые находились в пределах установленных норм.
Для подтверждения безопасности производимых пищевых продуктов, разработали систему ХАССП , определили 2 ККТ: ККТ1 Сушка макаронных изделий, ККТ2 Хранение готовой продукции. Для выявленных ККТ установили критические пределы. Разработали рабочие листы ХАССП, в которых описали способы мониторинга, корректирующие действия, позволяющие выпускать продукцию высокого качества.
Таким образом, была разработана ресурсосберегающая технология макаронных изделий с добавлением порошка из сушеной мякоти жмыха облепихи, который соответствует требованиям нормативных документов.